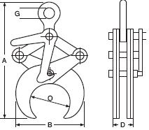
Csőmegfogó |
| Speciálisan csövek és köranyagok emelésére került kifejlesztésre. | | Típus | Teherbírás | Méretek mm | Súly | | | kg | O | A | B max | D | G | kg | | CRK0,5 | 500 | 49-114 | 314-350 | 210 | 42 | 30 | 4 | | CRK1,0 | 1000 | 114-219 | 470-560 | 385 | 45 | 45 | 9 | | CRK2,0 | 2000 | 219-368 | 754-870 | 640 | 60 | 70 | 24 | | CRK3,0 | 3000 | 368-508 | 840-1100 | 730 | 72 | 70 | 40 |
|
|
|